Peugeot 306 1.9D XUD9 1997
Modérateur : Equipe du site
- Sigma
- Fou (folle) du volant

- Messages : 1661
- Enregistré le : 11 août 2022, 19:21
- : : :
- Modèle : [Espace II 2.1 TD]
- Finition : Base
- Année : 1994
- : : :
- : : :
- Localisation : en dérapage
Re: Peugeot 306 1.9D XUD9 1997
Salut
oui toutes les 306 ph1 et ph2 ont ce problème... à croire que Peugeot a vraiment voulu emmerder ses clients à l'époque en ayant persisté coute que coute avec ce montage et faisceaux pourris!
Remarque ils ont aussi fait le même coup avec le cablage des capteurs airbags sous les sièges AV: si tu recules trop, ça pète les fils! Bravo les mecs!
Alors de mon côté j'ai avancé sur l'affaire:
en allant voir dans la porte j'ai vu le problème, le lève vitre n'est pas d'origine, les mecs ont coupé le connecteur côté moteur et collé deux cosses qu'ils ont bourré tant bien que mal dans le connecteur faisceau...
Donc déja connexion très foireuse.
Ensuite le moteur était coincé totalement, même déposé et titillé directement à la batterie: rien, on entendait juste un "clic" à l'intérieur mais aucune rotation, et ça chauffait vite. Le tout farci de crasse marron bien collante.
Alors soluce "rien à perdre": bourré de WD40 et décoincé l'axe du rotor à la pince. Et il est revenu à la vie!
Même mieux, les ampoules des inter se sont aussi rallumées!
Donc là je m'en sors bien pourpas cher: 4 rizlans, de la graisse molybdène (pour la glissière et le cable acier du mécanisme) et un peu de WD40.
Demain je rajouterai de la vaseline dans le coulisseau, la vitre a quand même du mal à remonter vers la fin de la course, tout est sec et crépi de crasse organique (typique de mon secteur). Sur mon 2 la vaseline avait bien ravivé tous les joints et coulisseaux...
Mais va falloir que je revois quand même le cablage du connecteur de porte, et la gestion des masses surtout... mais je pourrais faire ça à un moment plus adapté au niveau météo (pas trop froid, pas pluie, enfin on devient douillet à force).
Je suis super déçu quand même: je pensais pouvoir repérer le pinout et les diamètres des fils au cul du connecteur à l'intérieur de la porte, mais évidemment il y a un manchon et c'est totalement inaccessible pour le coup!
Donc va falloir que je me fie à ce que j'ai trouvé sur le net en matière de schémas et autres infos sur le pinout pour recomposer des connecteurs "propres" avec de la rallonge de fil de bonne qualité.
oui toutes les 306 ph1 et ph2 ont ce problème... à croire que Peugeot a vraiment voulu emmerder ses clients à l'époque en ayant persisté coute que coute avec ce montage et faisceaux pourris!
Remarque ils ont aussi fait le même coup avec le cablage des capteurs airbags sous les sièges AV: si tu recules trop, ça pète les fils! Bravo les mecs!
Alors de mon côté j'ai avancé sur l'affaire:
en allant voir dans la porte j'ai vu le problème, le lève vitre n'est pas d'origine, les mecs ont coupé le connecteur côté moteur et collé deux cosses qu'ils ont bourré tant bien que mal dans le connecteur faisceau...
Donc déja connexion très foireuse.
Ensuite le moteur était coincé totalement, même déposé et titillé directement à la batterie: rien, on entendait juste un "clic" à l'intérieur mais aucune rotation, et ça chauffait vite. Le tout farci de crasse marron bien collante.
Alors soluce "rien à perdre": bourré de WD40 et décoincé l'axe du rotor à la pince. Et il est revenu à la vie!
Même mieux, les ampoules des inter se sont aussi rallumées!
Donc là je m'en sors bien pourpas cher: 4 rizlans, de la graisse molybdène (pour la glissière et le cable acier du mécanisme) et un peu de WD40.
Demain je rajouterai de la vaseline dans le coulisseau, la vitre a quand même du mal à remonter vers la fin de la course, tout est sec et crépi de crasse organique (typique de mon secteur). Sur mon 2 la vaseline avait bien ravivé tous les joints et coulisseaux...
Mais va falloir que je revois quand même le cablage du connecteur de porte, et la gestion des masses surtout... mais je pourrais faire ça à un moment plus adapté au niveau météo (pas trop froid, pas pluie, enfin on devient douillet à force).
Je suis super déçu quand même: je pensais pouvoir repérer le pinout et les diamètres des fils au cul du connecteur à l'intérieur de la porte, mais évidemment il y a un manchon et c'est totalement inaccessible pour le coup!
Donc va falloir que je me fie à ce que j'ai trouvé sur le net en matière de schémas et autres infos sur le pinout pour recomposer des connecteurs "propres" avec de la rallonge de fil de bonne qualité.
Renault Espace II RN J8S 1994 290000Km (le Sapin de noël), CG véhicule collection depuis le 09/2024
Peugeot 306 Berline "Symbio" 1.9D XUD9 1997 258000Km (Farce à la Rouille)
Peugeot 306 Berline "Symbio" 1.9D XUD9 1997 258000Km (Farce à la Rouille)
- Sigma
- Fou (folle) du volant

- Messages : 1661
- Enregistré le : 11 août 2022, 19:21
- : : :
- Modèle : [Espace II 2.1 TD]
- Finition : Base
- Année : 1994
- : : :
- : : :
- Localisation : en dérapage
Re: Peugeot 306 1.9D XUD9 1997
Salut
je ne tiens pas à jour ce sujet...
désolé...
Mais là j'ai une grosse mise à jour:
mercredi soir 22h30 dans mon bled... un gars dans un état anormal à contresens, feux éteints, m'a percuté frontal.
Ensuite... il s'est fait la malle...
Assuré au mini + délit de fuite...
Porté plainte, mais la plaque ne correspond pas à la voiture... la totale
Je me suis vite fait une raison: tout est pour ma pomme!
Voilà le boulot du jour: mettre la caisse à nu pour évaluer les dégats
Côté pièces c'est assez basique:
radiateur, pare choc, support + ventilo (sur le XUD atmo le support est prévu pour 2 ventilos mais un seul est monté d'origine), porte filtre air, calandre, phares...
bon basique.
Par contre léger pliage du longeron côté conducteur entre la batterie et le "bout" côté pare choc... apparemment ça avait déja tapé à cet endroit, l'aile n'est pas d'origine (rouge dedans), et tout est un peu de guingois...
je suis en recherche de plan B pour redresser ça proprement...
Ca me parait la partie la plus ardue de la réparation.
je ne tiens pas à jour ce sujet...
désolé...
Mais là j'ai une grosse mise à jour:
mercredi soir 22h30 dans mon bled... un gars dans un état anormal à contresens, feux éteints, m'a percuté frontal.
Ensuite... il s'est fait la malle...
Assuré au mini + délit de fuite...
Porté plainte, mais la plaque ne correspond pas à la voiture... la totale
Je me suis vite fait une raison: tout est pour ma pomme!
Voilà le boulot du jour: mettre la caisse à nu pour évaluer les dégats
Côté pièces c'est assez basique:
radiateur, pare choc, support + ventilo (sur le XUD atmo le support est prévu pour 2 ventilos mais un seul est monté d'origine), porte filtre air, calandre, phares...
bon basique.
Par contre léger pliage du longeron côté conducteur entre la batterie et le "bout" côté pare choc... apparemment ça avait déja tapé à cet endroit, l'aile n'est pas d'origine (rouge dedans), et tout est un peu de guingois...
je suis en recherche de plan B pour redresser ça proprement...
Ca me parait la partie la plus ardue de la réparation.
Renault Espace II RN J8S 1994 290000Km (le Sapin de noël), CG véhicule collection depuis le 09/2024
Peugeot 306 Berline "Symbio" 1.9D XUD9 1997 258000Km (Farce à la Rouille)
Peugeot 306 Berline "Symbio" 1.9D XUD9 1997 258000Km (Farce à la Rouille)
-
Wutch
- Fou (folle) du volant

- Messages : 4053
- Enregistré le : 04 sept. 2016, 15:57
- : : :
- Modèle : [Espace IV 2.0 T 165 BVM]
- Finition : Privilège
- Année : 2004
- : : :
- : : :
Re: Peugeot 306 1.9D XUD9 1997
ah mince 
bon courage à toi. Ca peut se détordre en exerçant une force en sens inverse de l'impact. Avec un palan par exemple.
bon courage à toi. Ca peut se détordre en exerçant une force en sens inverse de l'impact. Avec un palan par exemple.
- EAime
- Fou (folle) du volant

- Messages : 20350
- Enregistré le : 14 mars 2008, 14:07
- : : :
- Modèle : [N'a plus d'Espace]
- Finition : TXE
- Année : 1989
- : : :
- 2ème modèle : [N'a plus d'Espace]
- finition : RXE
- Année : 1991
- : : :
- 3ème modèle : [Espace III V6]
- Finition : RXT
- Année : 1998
- Localisation : La Rochelle
Re: Peugeot 306 1.9D XUD9 1997
Bonjour Régis,
Ca me rappelle quelque chose l'an dernier, avec l'Espace, mais avec de moindres dégâts...
J'ai un "tirefort", si besoin, je peux te l'envoyer !
Ca me rappelle quelque chose l'an dernier, avec l'Espace, mais avec de moindres dégâts...
J'ai un "tirefort", si besoin, je peux te l'envoyer !
Renault Vel Satis Ph2 3.5L V6 Initiale 2006 - Gris Platine - 266 000km
Renault Espace "3" RXT 3.0 V6 PRV 1998 - Gris Titane - 160 000km
Renault Espace "1" TXE 1989 - Bleu Mandchourie - 245 000km - Offerte Téléthon 2019
Renault Espace "2" 2.8L V6 RXE - 1991 - Gris Rafale - 216 000km C.G. Collection 12/2021
Renault Espace "2" 2.1Dtv - 1997 - Bleu Impérial - 124 000km
Renault Espace "4" 2.0T / 170CV Initiale 2005 - Gris Platine - 214 000km
Toyota Yaris 1.5 Hybride Lounge - 2011 - Pack VIP - 106 000km. J'adore !
BMW R850 RT - 2003 - Bleu Biarritz - 128 000km. Du bonheur !
****Je ne réponds pas aux questions techniques envoyées par MP****
_______________________________________
"Ah ! Quand elles ont la tête comme ça, rentrée dans les épaules, c'est qu'elles sont pas contentes !" (Coluche)
Renault Espace "3" RXT 3.0 V6 PRV 1998 - Gris Titane - 160 000km
Renault Espace "1" TXE 1989 - Bleu Mandchourie - 245 000km - Offerte Téléthon 2019
Renault Espace "2" 2.8L V6 RXE - 1991 - Gris Rafale - 216 000km C.G. Collection 12/2021
Renault Espace "2" 2.1Dtv - 1997 - Bleu Impérial - 124 000km
Renault Espace "4" 2.0T / 170CV Initiale 2005 - Gris Platine - 214 000km
Toyota Yaris 1.5 Hybride Lounge - 2011 - Pack VIP - 106 000km. J'adore !
BMW R850 RT - 2003 - Bleu Biarritz - 128 000km. Du bonheur !
****Je ne réponds pas aux questions techniques envoyées par MP****
_______________________________________
"Ah ! Quand elles ont la tête comme ça, rentrée dans les épaules, c'est qu'elles sont pas contentes !" (Coluche)
- Sigma
- Fou (folle) du volant

- Messages : 1661
- Enregistré le : 11 août 2022, 19:21
- : : :
- Modèle : [Espace II 2.1 TD]
- Finition : Base
- Année : 1994
- : : :
- : : :
- Localisation : en dérapage
Re: Peugeot 306 1.9D XUD9 1997
Bonjour
merci!!!
Oui là va falloir tirer mais le pliage de la pièce ( en fait c'est le brancard), est multiple.
Dans l'axe longitudinal horizontal ça forme un S, dans le même axe sur le plan vertical l'avant du brancard "plonge".
En fait tout a vrillé jusqu'au support de boite.
Le montant vertical, là c'est moins problématique, plus fin, et pliage plus simple. Surtout il a moins de contraintes.
J'ai pensé à fourrer une barre dans le trou du brancard, mettre un max de cales au sol pour y poser mon cric et aller "relever" le truc...
Mais je le sens plutôt mal.
Mon expérience en tôlerie est très limitée, à vrai dire à part bourriner à la masse et au burin je n'ai jamais fait plus technique.
Sinon chez moi la config ne me permet pas d'accrocher un tire-fort ou même un cric à cliquet (type 4x4), je n'ai aucun point solide où arrimer quoi que ce soit... à part percer dans un muret de clôture et y sceller un anneau (mais pas sûr que le muret soit construit armé).
J'ai lancé quelques lignes localement, en espérant trouver un carrossier "sympa" qui me fera le truc à minima.
Pas évident à cette période, tout le monde est en vacances, tout est fermé...
Ca m'est déja arrivé sur une autre voiture il y a presque 12 ans, un voisin m'avait orienté chez un ami carrossier du village voisin qui m'avait redressé la voiture vite fait pour 150€... une autre région, un autre département, un autre fonctionnement entre êtres humains...
Ca n'était pas parfait mais ça m'avait permis de la remettre sur la route à moindre frais.
merci!!!
Oui là va falloir tirer mais le pliage de la pièce ( en fait c'est le brancard), est multiple.
Dans l'axe longitudinal horizontal ça forme un S, dans le même axe sur le plan vertical l'avant du brancard "plonge".
En fait tout a vrillé jusqu'au support de boite.
Le montant vertical, là c'est moins problématique, plus fin, et pliage plus simple. Surtout il a moins de contraintes.
J'ai pensé à fourrer une barre dans le trou du brancard, mettre un max de cales au sol pour y poser mon cric et aller "relever" le truc...
Mais je le sens plutôt mal.
Mon expérience en tôlerie est très limitée, à vrai dire à part bourriner à la masse et au burin je n'ai jamais fait plus technique.
Sinon chez moi la config ne me permet pas d'accrocher un tire-fort ou même un cric à cliquet (type 4x4), je n'ai aucun point solide où arrimer quoi que ce soit... à part percer dans un muret de clôture et y sceller un anneau (mais pas sûr que le muret soit construit armé).
J'ai lancé quelques lignes localement, en espérant trouver un carrossier "sympa" qui me fera le truc à minima.
Pas évident à cette période, tout le monde est en vacances, tout est fermé...
Ca m'est déja arrivé sur une autre voiture il y a presque 12 ans, un voisin m'avait orienté chez un ami carrossier du village voisin qui m'avait redressé la voiture vite fait pour 150€... une autre région, un autre département, un autre fonctionnement entre êtres humains...
Ca n'était pas parfait mais ça m'avait permis de la remettre sur la route à moindre frais.
Renault Espace II RN J8S 1994 290000Km (le Sapin de noël), CG véhicule collection depuis le 09/2024
Peugeot 306 Berline "Symbio" 1.9D XUD9 1997 258000Km (Farce à la Rouille)
Peugeot 306 Berline "Symbio" 1.9D XUD9 1997 258000Km (Farce à la Rouille)
- Sigma
- Fou (folle) du volant

- Messages : 1661
- Enregistré le : 11 août 2022, 19:21
- : : :
- Modèle : [Espace II 2.1 TD]
- Finition : Base
- Année : 1994
- : : :
- : : :
- Localisation : en dérapage
Re: Peugeot 306 1.9D XUD9 1997
Renault Espace II RN J8S 1994 290000Km (le Sapin de noël), CG véhicule collection depuis le 09/2024
Peugeot 306 Berline "Symbio" 1.9D XUD9 1997 258000Km (Farce à la Rouille)
Peugeot 306 Berline "Symbio" 1.9D XUD9 1997 258000Km (Farce à la Rouille)
-
Wutch
- Fou (folle) du volant

- Messages : 4053
- Enregistré le : 04 sept. 2016, 15:57
- : : :
- Modèle : [Espace IV 2.0 T 165 BVM]
- Finition : Privilège
- Année : 2004
- : : :
- : : :
Re: Peugeot 306 1.9D XUD9 1997
Si la caisse est trop vrillée, mieux vaut ne pas insister, ca sera plus sur.
Pour les points d'encrage, un arbre fait le job. Pas besoin d'un truc énorme, un bon cerisier ou pommier fait l'affaire. la voiture ripera avant que l'arbre ne lache.
Pour les points d'encrage, un arbre fait le job. Pas besoin d'un truc énorme, un bon cerisier ou pommier fait l'affaire. la voiture ripera avant que l'arbre ne lache.
- Sigma
- Fou (folle) du volant

- Messages : 1661
- Enregistré le : 11 août 2022, 19:21
- : : :
- Modèle : [Espace II 2.1 TD]
- Finition : Base
- Année : 1994
- : : :
- : : :
- Localisation : en dérapage
Re: Peugeot 306 1.9D XUD9 1997
Bien c'est vraiment cette extrêmité qui est vrillée...
j'ai bien regardé la suite du brancard entre la boite et la fixation triangle et rien n'a l'air d'avoir bougé. Heureusement!
Un arbre, ben j'aimerais bien en avoir un devant.
Sinon y en a quelques uns dans mon quartier, mais ça demande de tirer la voiture jusque là...
Cela dit, effectivement ça n'est pas uniquement en tirant que ça va se remettre à peu près droit. j'imagine que les carrossiers ont des pinces hydrauliques ou des trucs permettant de cintrer et appuyer avec une forte pression.
J'espère avoir quelques retours et un début de plan réaliste rapidement.
Pour le moment j'essaye de ne pas trop imaginer le plan B, arbre/marche arrière, ou autre bidouille de brousse... ça m'inquiète trop.
Puis je n'arrive pas à mettre la main sur les docs carrosserie avec les côtes constructeur.
Ca serait bien utile pour mesurer exactement les déviations et écarts...
>>> sinon j'ai attaqué la liste de courses, et j'avoue hésiter à prendre un radiateur vraiment pas cher.
Y a du Bolk, Storm, VanWezel à moins de 50€...
Sinon NRF 70€
Ensuite les prix sont multipliés par 2 ou 3 rapidement...
>>> puis je pensais trouver le ventilo et sa buse à un prix cool.
Mais là je vois que je me trompe grassement, les tarifs sont délirants!
Faudra trouver le truc d'occase.
j'ai bien regardé la suite du brancard entre la boite et la fixation triangle et rien n'a l'air d'avoir bougé. Heureusement!
Un arbre, ben j'aimerais bien en avoir un devant.
Sinon y en a quelques uns dans mon quartier, mais ça demande de tirer la voiture jusque là...
Cela dit, effectivement ça n'est pas uniquement en tirant que ça va se remettre à peu près droit. j'imagine que les carrossiers ont des pinces hydrauliques ou des trucs permettant de cintrer et appuyer avec une forte pression.
J'espère avoir quelques retours et un début de plan réaliste rapidement.
Pour le moment j'essaye de ne pas trop imaginer le plan B, arbre/marche arrière, ou autre bidouille de brousse... ça m'inquiète trop.
Puis je n'arrive pas à mettre la main sur les docs carrosserie avec les côtes constructeur.
Ca serait bien utile pour mesurer exactement les déviations et écarts...
>>> sinon j'ai attaqué la liste de courses, et j'avoue hésiter à prendre un radiateur vraiment pas cher.
Y a du Bolk, Storm, VanWezel à moins de 50€...
Sinon NRF 70€
Ensuite les prix sont multipliés par 2 ou 3 rapidement...
>>> puis je pensais trouver le ventilo et sa buse à un prix cool.
Mais là je vois que je me trompe grassement, les tarifs sont délirants!
Faudra trouver le truc d'occase.
Renault Espace II RN J8S 1994 290000Km (le Sapin de noël), CG véhicule collection depuis le 09/2024
Peugeot 306 Berline "Symbio" 1.9D XUD9 1997 258000Km (Farce à la Rouille)
Peugeot 306 Berline "Symbio" 1.9D XUD9 1997 258000Km (Farce à la Rouille)
-
grostoto
- Fou (folle) du volant

- Messages : 8881
- Enregistré le : 09 mars 2011, 14:48
- : : :
- Modèle : [Espace III 2.0 16V BVM]
- Finition : RXT
- Année : 2000
- : : :
- : : :
- Localisation : centre
Re: Peugeot 306 1.9D XUD9 1997
je ne suis pas convaincu que le brancard n'est pas bougé, sur la 1ère photo il a l'air de plonger sérieusement...
- Sigma
- Fou (folle) du volant

- Messages : 1661
- Enregistré le : 11 août 2022, 19:21
- : : :
- Modèle : [Espace II 2.1 TD]
- Finition : Base
- Année : 1994
- : : :
- : : :
- Localisation : en dérapage
Re: Peugeot 306 1.9D XUD9 1997
Oui il a plongé! Et aussi dévié latéralement un petit peu...
Mais la zone pliée se trouve exactement entre le support de boite et l'avant de la voiture.
J'ai beau regarder plus loin, je ne vois aucune déformation passé cette zone.
Dans la doc PSA cette partie avant du brancard se détaillait, et j'ai vu la procédure pour la tronçonner et ressouder.
Donc c'était "réparable" à une époque. Mais même si j'avais eu une assurance tous risques j'aurais été planté pour ça c'est certain!
Aujourd'hui je me contenterai d'un redressage grossier, juste assez d'équerre pour pouvoir remonter les éléments.
Mais la zone pliée se trouve exactement entre le support de boite et l'avant de la voiture.
J'ai beau regarder plus loin, je ne vois aucune déformation passé cette zone.
Dans la doc PSA cette partie avant du brancard se détaillait, et j'ai vu la procédure pour la tronçonner et ressouder.
Donc c'était "réparable" à une époque. Mais même si j'avais eu une assurance tous risques j'aurais été planté pour ça c'est certain!
Aujourd'hui je me contenterai d'un redressage grossier, juste assez d'équerre pour pouvoir remonter les éléments.
Renault Espace II RN J8S 1994 290000Km (le Sapin de noël), CG véhicule collection depuis le 09/2024
Peugeot 306 Berline "Symbio" 1.9D XUD9 1997 258000Km (Farce à la Rouille)
Peugeot 306 Berline "Symbio" 1.9D XUD9 1997 258000Km (Farce à la Rouille)
- Sigma
- Fou (folle) du volant

- Messages : 1661
- Enregistré le : 11 août 2022, 19:21
- : : :
- Modèle : [Espace II 2.1 TD]
- Finition : Base
- Année : 1994
- : : :
- : : :
- Localisation : en dérapage
Re: Peugeot 306 1.9D XUD9 1997
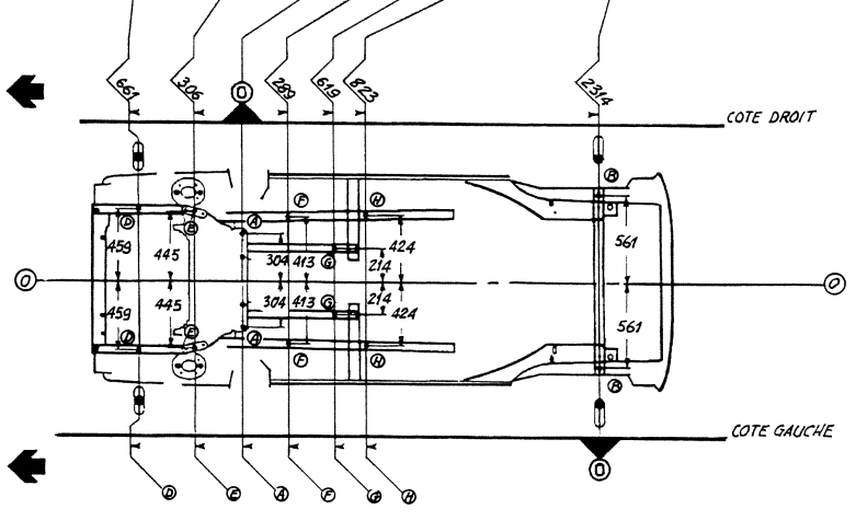
J'ai réussi à mettre la main sur des docs de métrologie chassis.
En fait y en a plusieurs, pour des bécanes différentes... pour moi c'est un peu flou ces points de mesures, mais bon.
En me basant sur ce dessin, j'ai mesuré l'écart entre les vis correspondant au centre des amortos, ensuite l'écart entre le centre des trous obolong sur les plats au bout des deux brancards. Donc avec un mètre rigide:
entre les vis amorto j'ai 1135mm, selon la doc c'est 1134mm (567 x 2) donc pour moi là effectivement ça n'a pas bronché.
entre les trous obolongs au bout des brancards j'ai 929mm... là c'est pas très clair sur la doc j'ai l'impression que ça correspond au 450mm x2...
Donc cohérent avec la gueule de la bagnole, mais si j'ai mesuré au bon endroit ça fait 29mm de dérive... sur 400mm de longueur pliée.
Ca me semble encore ratrappable.
Là ce dessin me semble être pour les mesures de hauteur sous caisse: Vu où est planté la voiture je n'ai pas mesuré, le sol est trop irrégulier.
Faudrait que je la sorte complètement pour la mettre sur une zone vraiment plate... donc un peu "loin" quand on ne peut pas rouler normalement.
mais à vue d'oeil avec une règle de maçon posée à plat au bout du brancard passager, ouais y a bien 30mm d'écart avec le côté conducteur en hauteur.
edit: je me trompe avec le dessin précédent, je crois que c'est plutôt celui ci-dessous qui correspond aux hauteurs
En fait y en a plusieurs, pour des bécanes différentes... pour moi c'est un peu flou ces points de mesures, mais bon.
En me basant sur ce dessin, j'ai mesuré l'écart entre les vis correspondant au centre des amortos, ensuite l'écart entre le centre des trous obolong sur les plats au bout des deux brancards. Donc avec un mètre rigide:
entre les vis amorto j'ai 1135mm, selon la doc c'est 1134mm (567 x 2) donc pour moi là effectivement ça n'a pas bronché.
entre les trous obolongs au bout des brancards j'ai 929mm... là c'est pas très clair sur la doc j'ai l'impression que ça correspond au 450mm x2...
Donc cohérent avec la gueule de la bagnole, mais si j'ai mesuré au bon endroit ça fait 29mm de dérive... sur 400mm de longueur pliée.
Ca me semble encore ratrappable.
Là ce dessin me semble être pour les mesures de hauteur sous caisse: Vu où est planté la voiture je n'ai pas mesuré, le sol est trop irrégulier.
Faudrait que je la sorte complètement pour la mettre sur une zone vraiment plate... donc un peu "loin" quand on ne peut pas rouler normalement.
mais à vue d'oeil avec une règle de maçon posée à plat au bout du brancard passager, ouais y a bien 30mm d'écart avec le côté conducteur en hauteur.
edit: je me trompe avec le dessin précédent, je crois que c'est plutôt celui ci-dessous qui correspond aux hauteurs
Renault Espace II RN J8S 1994 290000Km (le Sapin de noël), CG véhicule collection depuis le 09/2024
Peugeot 306 Berline "Symbio" 1.9D XUD9 1997 258000Km (Farce à la Rouille)
Peugeot 306 Berline "Symbio" 1.9D XUD9 1997 258000Km (Farce à la Rouille)
- Sigma
- Fou (folle) du volant

- Messages : 1661
- Enregistré le : 11 août 2022, 19:21
- : : :
- Modèle : [Espace II 2.1 TD]
- Finition : Base
- Année : 1994
- : : :
- : : :
- Localisation : en dérapage
Re: Peugeot 306 1.9D XUD9 1997
Salut
j'ai perdu beaucoup de temps à cause d'un jeune kéké de la famille de ma femme qui m'a assuré pouvoir me trouver toutes les pièces, et embarquer la voiture pour essayer de la redresser à son boulot (casse auto + garage méca)...
mais de nos jours les jeunes fiables.... hum.... ça n'existe presque plus!
Du coup arnaqué à moitié par une casse comptoir pas loin de chez moi pour des pièces à moitié pourries, mais pas le choix...
et surtout dépanné par Enzo, le Boss, qui m'a trouvé ce qu'il me manquait! Merci encore l'ami !!!
Question dressage, j'ai tenté une manip débile:
levé la voiture le plus haut possible au cric sur l'appui normal, et laché de cric avec un barre solide sous le longeron à son extrêmité...
Mon idée c'était d'utiliser le poids de la voiture pour relever au max le bout du longeron.
J'avoue que je ne sais pas si ça a réellement fait quelque chose... les coups de masse de tous les côtés m'ont semblé plus efficaces.
Donc on part de ça: Montage pour lacher de cric, j'ai quand même intercalé un tasseau chêne pour éviter que le longeron ne soit perforé par le tube: Au passage j'ai rentré un burin de maçon très épais dans le longeron et avec le reste de mon "tube" (échelle de maçon réformée) j'ai tenté de lever par l'avant. Mais je n'ai que déformé la tôlette au dessus du longeron.
Les boules: je pensais que le longeron était un tube rectangulaire, pas un U !
Enzo m'a trouvé un pare choc, calandre, et une buse ventilos propres!!!
Pare choc et calandres blancs, ok ok, mais plus faciles à repeindre que s'ils avaient été d'une couleur plus foncée. Surtout que j'ai peint à l'arrache dehors entre plusieurs sessions de bruine...
et avec ça: la teinte est quand même assez proche du M0YC PSA... "gris quartz", mais surtout beaucoup moins cher qu'une bombe de peinture normalisée!
j'ai perdu beaucoup de temps à cause d'un jeune kéké de la famille de ma femme qui m'a assuré pouvoir me trouver toutes les pièces, et embarquer la voiture pour essayer de la redresser à son boulot (casse auto + garage méca)...
mais de nos jours les jeunes fiables.... hum.... ça n'existe presque plus!
Du coup arnaqué à moitié par une casse comptoir pas loin de chez moi pour des pièces à moitié pourries, mais pas le choix...
et surtout dépanné par Enzo, le Boss, qui m'a trouvé ce qu'il me manquait! Merci encore l'ami !!!
Question dressage, j'ai tenté une manip débile:
levé la voiture le plus haut possible au cric sur l'appui normal, et laché de cric avec un barre solide sous le longeron à son extrêmité...
Mon idée c'était d'utiliser le poids de la voiture pour relever au max le bout du longeron.
J'avoue que je ne sais pas si ça a réellement fait quelque chose... les coups de masse de tous les côtés m'ont semblé plus efficaces.
Donc on part de ça: Montage pour lacher de cric, j'ai quand même intercalé un tasseau chêne pour éviter que le longeron ne soit perforé par le tube: Au passage j'ai rentré un burin de maçon très épais dans le longeron et avec le reste de mon "tube" (échelle de maçon réformée) j'ai tenté de lever par l'avant. Mais je n'ai que déformé la tôlette au dessus du longeron.
Les boules: je pensais que le longeron était un tube rectangulaire, pas un U !
Enzo m'a trouvé un pare choc, calandre, et une buse ventilos propres!!!
Pare choc et calandres blancs, ok ok, mais plus faciles à repeindre que s'ils avaient été d'une couleur plus foncée. Surtout que j'ai peint à l'arrache dehors entre plusieurs sessions de bruine...
et avec ça: la teinte est quand même assez proche du M0YC PSA... "gris quartz", mais surtout beaucoup moins cher qu'une bombe de peinture normalisée!
Renault Espace II RN J8S 1994 290000Km (le Sapin de noël), CG véhicule collection depuis le 09/2024
Peugeot 306 Berline "Symbio" 1.9D XUD9 1997 258000Km (Farce à la Rouille)
Peugeot 306 Berline "Symbio" 1.9D XUD9 1997 258000Km (Farce à la Rouille)
- Sigma
- Fou (folle) du volant

- Messages : 1661
- Enregistré le : 11 août 2022, 19:21
- : : :
- Modèle : [Espace II 2.1 TD]
- Finition : Base
- Année : 1994
- : : :
- : : :
- Localisation : en dérapage
Re: Peugeot 306 1.9D XUD9 1997
Ensuite passage à la masse des bouts de tôle qui dépassaient de trop devant + Ferose sur la rouille + Hammerite "gris lune"...
Histoire de limiter la rouille et faire pas trop "dégueu"... m'enfin la géométrie générale est dégueu c'est clair:
J'ai aussi eu un souci pour le radiateur!
Cette 306 étant des 15 premiers jours de production des ph2, même avec le numéro OPR correct, ça me sortait des refs OEM non compatibles réellement
C'aurait été trop simple: avec le numéro OEM j'avais trouvé un radiateur Valéo neuf à 30€ à côté de chez moi sur les annonces... mais le gars m'a expliqué pourquoi il ne l'avait pas monté sur sa Xsara (même XUD atmo que moi): raccord de la grosse durit du bas pas compatible!!!
Donc comme lui j'ai été bête: durit à raccord baillonnette... faut chercher à la vue sur les sites de pièces, sans ref OEM ni rien...
Celui que j'ai trouvé est compatible pour le raccord, oui, mais discount: les mecs ont moulé l'un des plots de montage inférieur à une mauvaise position!
Ce qui fait que une fois en place, avec la traverse supérieure qui tient tout le monde, la traverse inférieure décalée de 30mm vers l'habitacle côté conducteur...
Ben le radiateur était soit voilé franchement: Soit plan B: maintenu par des rizlan de ce côté C'est ce que j'ai retenu comme option, mais du coup on voit clairement le décalage par rapport à la traverse supérieure qui étrangement est bien d'équerre, elle!
Autre problème avec ce radiateur, mais lié à ce raccord bailonnette: impossible de remonter la durit avec le vieux joint d'origine, trop épais.
Et surtout aucun accès pour bourriner!
Donc montage à la vaseline avec un joint soit-disant OEM mais venant de Aliexpress: diam interne et section un chouilla inférieurs à ceux du joint normal.
Mais c'est rentré comme papa dans maman, si j'ose dire...
>>> autre souci: la buse ventilo de remplacement vient d'une 306 HDI avec clim...
je savais que ces modèles ont un boitier de commande déporté, Bitron... et que le faisceau n'était pas compatible.
Cette buse avait 2 ventilos, donc j'ai pensé pouvoir juste transplanter mon faisceau de buse monoventilo sur la "nouvelle" buse.
Mais non: les moteurs n'ont pas la même puissance.
Et mon montage à un ventilo intègre une résistance dummy de même puissance que le ventilo, mais elle n'est pas connectée par un connecteur ventilo "normal".
Bref... encore des heures à gamberger, au final j'ai transplanté le vieux ventilo + sa résistance dummy + le vieux faisceau sur la nouvelle buse.
Histoire de limiter la rouille et faire pas trop "dégueu"... m'enfin la géométrie générale est dégueu c'est clair:
J'ai aussi eu un souci pour le radiateur!
Cette 306 étant des 15 premiers jours de production des ph2, même avec le numéro OPR correct, ça me sortait des refs OEM non compatibles réellement
C'aurait été trop simple: avec le numéro OEM j'avais trouvé un radiateur Valéo neuf à 30€ à côté de chez moi sur les annonces... mais le gars m'a expliqué pourquoi il ne l'avait pas monté sur sa Xsara (même XUD atmo que moi): raccord de la grosse durit du bas pas compatible!!!
Donc comme lui j'ai été bête: durit à raccord baillonnette... faut chercher à la vue sur les sites de pièces, sans ref OEM ni rien...
Celui que j'ai trouvé est compatible pour le raccord, oui, mais discount: les mecs ont moulé l'un des plots de montage inférieur à une mauvaise position!
Ce qui fait que une fois en place, avec la traverse supérieure qui tient tout le monde, la traverse inférieure décalée de 30mm vers l'habitacle côté conducteur...
Ben le radiateur était soit voilé franchement: Soit plan B: maintenu par des rizlan de ce côté C'est ce que j'ai retenu comme option, mais du coup on voit clairement le décalage par rapport à la traverse supérieure qui étrangement est bien d'équerre, elle!
Autre problème avec ce radiateur, mais lié à ce raccord bailonnette: impossible de remonter la durit avec le vieux joint d'origine, trop épais.
Et surtout aucun accès pour bourriner!
Donc montage à la vaseline avec un joint soit-disant OEM mais venant de Aliexpress: diam interne et section un chouilla inférieurs à ceux du joint normal.
Mais c'est rentré comme papa dans maman, si j'ose dire...
>>> autre souci: la buse ventilo de remplacement vient d'une 306 HDI avec clim...
je savais que ces modèles ont un boitier de commande déporté, Bitron... et que le faisceau n'était pas compatible.
Cette buse avait 2 ventilos, donc j'ai pensé pouvoir juste transplanter mon faisceau de buse monoventilo sur la "nouvelle" buse.
Mais non: les moteurs n'ont pas la même puissance.
Et mon montage à un ventilo intègre une résistance dummy de même puissance que le ventilo, mais elle n'est pas connectée par un connecteur ventilo "normal".
Bref... encore des heures à gamberger, au final j'ai transplanté le vieux ventilo + sa résistance dummy + le vieux faisceau sur la nouvelle buse.
Renault Espace II RN J8S 1994 290000Km (le Sapin de noël), CG véhicule collection depuis le 09/2024
Peugeot 306 Berline "Symbio" 1.9D XUD9 1997 258000Km (Farce à la Rouille)
Peugeot 306 Berline "Symbio" 1.9D XUD9 1997 258000Km (Farce à la Rouille)
- Sigma
- Fou (folle) du volant

- Messages : 1661
- Enregistré le : 11 août 2022, 19:21
- : : :
- Modèle : [Espace II 2.1 TD]
- Finition : Base
- Année : 1994
- : : :
- : : :
- Localisation : en dérapage
Re: Peugeot 306 1.9D XUD9 1997
A ce stade: mise en eau et vérif du bon fonctionnement du ventilo (déclenché par un thermocontact dans le radiateur, au lieu de ce fichu boitier Bitron qui est sur les modèles à clim).
Bien sûr, vérif si le circuit LDR est bien étanche... j'avais un très gros doute vu la relative facilité pour rentrer la durit baillonette et son joint chinois.
Mais heureusement test ok!
Donc la suite ça a été la "finition".
Montage du pare choc, là j'avais redressé la patte avec l'excentrique côté conducteur mais c'était trop mal aligné.
Donc reprise du truc au pied de biche... grosso modo...
Montage des phares de remplacement (au passage sur l'un des phares j'ai dû transplanter le moteur éléc de compensation en charge... pas le même moteur...)
remontage de la calandre peinte à la Lidl...
Bon on va dire que pour ça c'est à peu près ok....
Le capot pourri m'a posé des soucis, l'ancien était trop plié à un endroit renforcé donc pas redressable pour moi...
Celui de remplacement est d'une ph2.2... nervures un peu plus marquées que sur mon ancien capot mais ok...
Sauf que les mecs ont stocké des roues dessus, sont probablement montés dessus également... et franchement son ajustement a été vraiment difficile.
Ca ne ferme pas super bien sur les longueurs des côtés, mais c'est une balance à faire:
si ça ferme nickel, ça tape sur les phares en fermant...
Ces fichues baguettes sous phares, c'est encore une énorme cague en tube!!!
Fait pour casser
Impossible à monter simplement...
Je comprends pourquoi toutes celles que j'ai eu dans les mains ont été collées dans les slots sous les phares!!!!
Résultat après montage qui devait être d'équerre pour la calandre et les baguettes... j'ai dû les tirer un poil, sans péter leurs pattes dans les phares, pour les inonder de colle... en espérant que ça tiennne...
Donc là c'est scotché pour que la colle prenne. Je verrais le résultat demain.
Pour le moment la 306 a cette gueule:
Me reste à lever l'avant, virer les roues pour réinstaller les pare boues...
sachant que faudra peut ếtre découper celui côté conducteur qui sera trop long, vu le retrait de la traverse inférieure...
j'en profiterai pour désacoupler la descente d'échappement qui branle... prévu de rajouter un max de tours de scotch alu HT° pour que le collier prenne bien la descente et le tube ensemble sans jeu...
Ensuite va falloir que je trouve l'origine d'un autre souci créé par le mec qui a ramené la voiture sur sa dépanneuse:
avant qu'il mette la voiture sur son camion, le levier de frein à main serrait à bloc à 7 crans (j'ai changé le kit y a à peine 1 an et tout est ok)...
après le transport: le levier frein à main serre en étant quasi vertical!
Je soupçonne que le gars, qui est connu localement (car fils de la patronne d'un gros garage, qui a déja explosé des voitures clients un peu "sympa" -les voitures- en faisant le kéké avec sur les petites routes....), d'avoir serré comme un gros bourrin au delà du raisonnable...
Et potentiellement pété un cable, ou un arrêt de gaine.
Pff je me serais bien passé de ce souci là en plus...
Et on rigole on rigole, mais avec tout ça cette cocotte voit son CT venir à terme le 4 octobre
Bien sûr, vérif si le circuit LDR est bien étanche... j'avais un très gros doute vu la relative facilité pour rentrer la durit baillonette et son joint chinois.
Mais heureusement test ok!
Donc la suite ça a été la "finition".
Montage du pare choc, là j'avais redressé la patte avec l'excentrique côté conducteur mais c'était trop mal aligné.
Donc reprise du truc au pied de biche... grosso modo...
Montage des phares de remplacement (au passage sur l'un des phares j'ai dû transplanter le moteur éléc de compensation en charge... pas le même moteur...)
remontage de la calandre peinte à la Lidl...
Bon on va dire que pour ça c'est à peu près ok....
Le capot pourri m'a posé des soucis, l'ancien était trop plié à un endroit renforcé donc pas redressable pour moi...
Celui de remplacement est d'une ph2.2... nervures un peu plus marquées que sur mon ancien capot mais ok...
Sauf que les mecs ont stocké des roues dessus, sont probablement montés dessus également... et franchement son ajustement a été vraiment difficile.
Ca ne ferme pas super bien sur les longueurs des côtés, mais c'est une balance à faire:
si ça ferme nickel, ça tape sur les phares en fermant...
Ces fichues baguettes sous phares, c'est encore une énorme cague en tube!!!
Fait pour casser
Impossible à monter simplement...
Je comprends pourquoi toutes celles que j'ai eu dans les mains ont été collées dans les slots sous les phares!!!!
Résultat après montage qui devait être d'équerre pour la calandre et les baguettes... j'ai dû les tirer un poil, sans péter leurs pattes dans les phares, pour les inonder de colle... en espérant que ça tiennne...
Donc là c'est scotché pour que la colle prenne. Je verrais le résultat demain.
Pour le moment la 306 a cette gueule:
Me reste à lever l'avant, virer les roues pour réinstaller les pare boues...
sachant que faudra peut ếtre découper celui côté conducteur qui sera trop long, vu le retrait de la traverse inférieure...
j'en profiterai pour désacoupler la descente d'échappement qui branle... prévu de rajouter un max de tours de scotch alu HT° pour que le collier prenne bien la descente et le tube ensemble sans jeu...
Ensuite va falloir que je trouve l'origine d'un autre souci créé par le mec qui a ramené la voiture sur sa dépanneuse:
avant qu'il mette la voiture sur son camion, le levier de frein à main serrait à bloc à 7 crans (j'ai changé le kit y a à peine 1 an et tout est ok)...
après le transport: le levier frein à main serre en étant quasi vertical!
Je soupçonne que le gars, qui est connu localement (car fils de la patronne d'un gros garage, qui a déja explosé des voitures clients un peu "sympa" -les voitures- en faisant le kéké avec sur les petites routes....), d'avoir serré comme un gros bourrin au delà du raisonnable...
Et potentiellement pété un cable, ou un arrêt de gaine.
Pff je me serais bien passé de ce souci là en plus...
Et on rigole on rigole, mais avec tout ça cette cocotte voit son CT venir à terme le 4 octobre
Renault Espace II RN J8S 1994 290000Km (le Sapin de noël), CG véhicule collection depuis le 09/2024
Peugeot 306 Berline "Symbio" 1.9D XUD9 1997 258000Km (Farce à la Rouille)
Peugeot 306 Berline "Symbio" 1.9D XUD9 1997 258000Km (Farce à la Rouille)
- Sigma
- Fou (folle) du volant

- Messages : 1661
- Enregistré le : 11 août 2022, 19:21
- : : :
- Modèle : [Espace II 2.1 TD]
- Finition : Base
- Année : 1994
- : : :
- : : :
- Localisation : en dérapage
Re: Peugeot 306 1.9D XUD9 1997
J'en rajoute un peu:
les ailes n'ont plus le même profil... évidemment!
J'ai bien tenté de rattrapper celle côté conducteur qui avait voilé pile au milieu de la roue... sans succès.
Le souci c'est que la voiture avait déja tapé de la même manière, l'aile a été changée, la contre aile a été tortillée, pliée tant bien que mal pour que l'aile de remplacement (rouge d'origine) puisse se monter à peu près...
Alors imaginez, après un second choc au même endroit... ce que j'ai trouvé derrière l'aile...
Rien à faire, l'aile conducteur est plus bombée au dessus de la roue que côté passager.
Le pare choc est aussi mal aligné côté conducteur, j'ai même dû mettre des cales ( faites en tongs de mon gamin, ouais!) entre l'aile et le pare choc pour lui rattraper une pente débile...
Quand on se met pile en face de la voiture, désolé j'ai pas pu avoir assez de recul pour prendre une photo, on voit que la courbe en bas du pare choc, dévie côté conducteur... c'est un poil plus "prononcé" que de l'autre côté.
Mais de loin, comme toujours avec ce que je fais, ça passe à peu près.
Ca aide de ne pas porter ses lunettes, et si brouillard de nuit, c'est encore mieux !
Je ferais des photos de la tête du longeron après le Ferose et Hammerite + masse....
Je me suis aperçu que ça manquait dans le filage du roman...
En tout cas la cocotte démarre au quart de tour, et pour faire chauffer le XUD j'ai dû vraiment lui tirer à 2500t pendant 1/2h pour que ça dépasse les 90° et que ça déclenche LE ventilo!
>>> y a quand même un truc que je ne comprends pas...
je mange les docs constructeur par principe, c'est l'un de mes nombreux problèmes personnels (enfin moi, je me connais je ne vois pas ça sous cet angle, mais je sais aussi prendre un peu de recul des fois
).....
Donc dans la doc officielle PSA pour CETTE 306 à XUD atmo, il est noté que si on tracte régulièrement il FAUT installer le second ventilo sur la buse!
oui mais du coup ce que j'ai vu c'est que le connecteur de la résistance dummy n'est pas un connecteur de ventilo.
Alors comment qu'ils faisaient chez PSA dans ce cas?
Ils changeaient tout le faisceau avec la platine relais au milieu de la buse?
Puis au passage une astuce, si y en a qui ont ce genre de bagnole dans le secteur:
pour défaire la connexion ventilo du faiseau
il ne faut pas tirer sur le connecteur faisceau, ni même essayer de le déverrouiller avec un tournevis plat!
Non! on pète le connecteur à tous les coups!
Il faut tout simplement et avant toute chose déposer le moteur ventilo, 3 vis de 10... une fois extrait, ça dévérouille d'office le connecteur qui est intentionnellement "coincé" dans la buse!
les ailes n'ont plus le même profil... évidemment!
J'ai bien tenté de rattrapper celle côté conducteur qui avait voilé pile au milieu de la roue... sans succès.
Le souci c'est que la voiture avait déja tapé de la même manière, l'aile a été changée, la contre aile a été tortillée, pliée tant bien que mal pour que l'aile de remplacement (rouge d'origine) puisse se monter à peu près...
Alors imaginez, après un second choc au même endroit... ce que j'ai trouvé derrière l'aile...
Rien à faire, l'aile conducteur est plus bombée au dessus de la roue que côté passager.
Le pare choc est aussi mal aligné côté conducteur, j'ai même dû mettre des cales ( faites en tongs de mon gamin, ouais!) entre l'aile et le pare choc pour lui rattraper une pente débile...
Quand on se met pile en face de la voiture, désolé j'ai pas pu avoir assez de recul pour prendre une photo, on voit que la courbe en bas du pare choc, dévie côté conducteur... c'est un poil plus "prononcé" que de l'autre côté.
Mais de loin, comme toujours avec ce que je fais, ça passe à peu près.
Ca aide de ne pas porter ses lunettes, et si brouillard de nuit, c'est encore mieux !
Je ferais des photos de la tête du longeron après le Ferose et Hammerite + masse....
Je me suis aperçu que ça manquait dans le filage du roman...
En tout cas la cocotte démarre au quart de tour, et pour faire chauffer le XUD j'ai dû vraiment lui tirer à 2500t pendant 1/2h pour que ça dépasse les 90° et que ça déclenche LE ventilo!
>>> y a quand même un truc que je ne comprends pas...
je mange les docs constructeur par principe, c'est l'un de mes nombreux problèmes personnels (enfin moi, je me connais je ne vois pas ça sous cet angle, mais je sais aussi prendre un peu de recul des fois
Donc dans la doc officielle PSA pour CETTE 306 à XUD atmo, il est noté que si on tracte régulièrement il FAUT installer le second ventilo sur la buse!
oui mais du coup ce que j'ai vu c'est que le connecteur de la résistance dummy n'est pas un connecteur de ventilo.
Alors comment qu'ils faisaient chez PSA dans ce cas?
Ils changeaient tout le faisceau avec la platine relais au milieu de la buse?
Puis au passage une astuce, si y en a qui ont ce genre de bagnole dans le secteur:
pour défaire la connexion ventilo du faiseau
il ne faut pas tirer sur le connecteur faisceau, ni même essayer de le déverrouiller avec un tournevis plat!
Non! on pète le connecteur à tous les coups!
Il faut tout simplement et avant toute chose déposer le moteur ventilo, 3 vis de 10... une fois extrait, ça dévérouille d'office le connecteur qui est intentionnellement "coincé" dans la buse!
Renault Espace II RN J8S 1994 290000Km (le Sapin de noël), CG véhicule collection depuis le 09/2024
Peugeot 306 Berline "Symbio" 1.9D XUD9 1997 258000Km (Farce à la Rouille)
Peugeot 306 Berline "Symbio" 1.9D XUD9 1997 258000Km (Farce à la Rouille)
- LeJeune6troeniste
- Fou (folle) du volant

- Messages : 2822
- Enregistré le : 01 juil. 2019, 18:39
- : : :
- Modèle : [Espace IV 2.0 T 165 BVM]
- Finition : Privilège
- Année : 2004
- : : :
- : : :
Re: Peugeot 306 1.9D XUD9 1997
Ça en fait du boulot !
Bravo pour la peinture Lidl, c'est pas un choix que j'aurais fait mais c'est autrement mieux que rien et ça suffit pour ne pas attirer l'attention sur la route.
Bravo pour la peinture Lidl, c'est pas un choix que j'aurais fait mais c'est autrement mieux que rien et ça suffit pour ne pas attirer l'attention sur la route.
Espace IV 2.0T Privilège BVM de 04/2004
Bleu Orage, 262 652 km, dans la famille depuis 06/2014 et 87 898
CT OK jusqu'en 03/2027 !
Espace IV 2.0T Alyum Plus BVM de 01/2007 Noir Nacré, qui a servi de 07/19 à 11/21 sur 18 108 km, vendu
VW Golf III 1,8 Syncro de 10/1995
, 301 560 km
Jaguar XJ40 3,6 BVA Sovereign de 02/1989
, 92 607 km au total et ce depuis 2001
Soucis d'étincelle a priori trouvé, réfection du système d'alimentation en carburant en cours
Espace IV 2.0T Alyum Plus BVM de 01/2007 Noir Nacré, qui a servi de 07/19 à 11/21 sur 18 108 km, vendu
VW Golf III 1,8 Syncro de 10/1995
Jaguar XJ40 3,6 BVA Sovereign de 02/1989
- EAime
- Fou (folle) du volant

- Messages : 20350
- Enregistré le : 14 mars 2008, 14:07
- : : :
- Modèle : [N'a plus d'Espace]
- Finition : TXE
- Année : 1989
- : : :
- 2ème modèle : [N'a plus d'Espace]
- finition : RXE
- Année : 1991
- : : :
- 3ème modèle : [Espace III V6]
- Finition : RXT
- Année : 1998
- Localisation : La Rochelle
Re: Peugeot 306 1.9D XUD9 1997
Beau boulot, Régis !!
Bravo !!!!!
Bravo !!!!!
Renault Vel Satis Ph2 3.5L V6 Initiale 2006 - Gris Platine - 266 000km
Renault Espace "3" RXT 3.0 V6 PRV 1998 - Gris Titane - 160 000km
Renault Espace "1" TXE 1989 - Bleu Mandchourie - 245 000km - Offerte Téléthon 2019
Renault Espace "2" 2.8L V6 RXE - 1991 - Gris Rafale - 216 000km C.G. Collection 12/2021
Renault Espace "2" 2.1Dtv - 1997 - Bleu Impérial - 124 000km
Renault Espace "4" 2.0T / 170CV Initiale 2005 - Gris Platine - 214 000km
Toyota Yaris 1.5 Hybride Lounge - 2011 - Pack VIP - 106 000km. J'adore !
BMW R850 RT - 2003 - Bleu Biarritz - 128 000km. Du bonheur !
****Je ne réponds pas aux questions techniques envoyées par MP****
_______________________________________
"Ah ! Quand elles ont la tête comme ça, rentrée dans les épaules, c'est qu'elles sont pas contentes !" (Coluche)
Renault Espace "3" RXT 3.0 V6 PRV 1998 - Gris Titane - 160 000km
Renault Espace "1" TXE 1989 - Bleu Mandchourie - 245 000km - Offerte Téléthon 2019
Renault Espace "2" 2.8L V6 RXE - 1991 - Gris Rafale - 216 000km C.G. Collection 12/2021
Renault Espace "2" 2.1Dtv - 1997 - Bleu Impérial - 124 000km
Renault Espace "4" 2.0T / 170CV Initiale 2005 - Gris Platine - 214 000km
Toyota Yaris 1.5 Hybride Lounge - 2011 - Pack VIP - 106 000km. J'adore !
BMW R850 RT - 2003 - Bleu Biarritz - 128 000km. Du bonheur !
****Je ne réponds pas aux questions techniques envoyées par MP****
_______________________________________
"Ah ! Quand elles ont la tête comme ça, rentrée dans les épaules, c'est qu'elles sont pas contentes !" (Coluche)
-
grostoto
- Fou (folle) du volant

- Messages : 8881
- Enregistré le : 09 mars 2011, 14:48
- : : :
- Modèle : [Espace III 2.0 16V BVM]
- Finition : RXT
- Année : 2000
- : : :
- : : :
- Localisation : centre
Re: Peugeot 306 1.9D XUD9 1997
j'espère que tu as un CT conciliant..
- Sigma
- Fou (folle) du volant

- Messages : 1661
- Enregistré le : 11 août 2022, 19:21
- : : :
- Modèle : [Espace II 2.1 TD]
- Finition : Base
- Année : 1994
- : : :
- : : :
- Localisation : en dérapage
Re: Peugeot 306 1.9D XUD9 1997
Salut et merci!
@Raphaël: j'avais cette bombe depuis 2 ans sur une étagère, testée rapidos sur une des baguettes sous phares, et la teinte m'a paru dans les clous!
Là avec le pare choc, la calandre, et les deux baguettes peintes comme ça, hé bien ça fait le job parfaitement!
C'est un peu mat comparé à la peinture d'origine, et un poil plus clair. Mais là il faut prendre en compte le vieillissement des peintures, et surtout pour le côté mat l'abscence de vernis transparent (dont j'ai fait l'économie vu le bazar général).
Aujourd'hui j'ai pu remonter les passages de roue, avec évidemment de bonnes galères du côté où ça a tapé.
Obligé de rogner, percer, "rizlaner"... mais au final la roue passe sans souci, sans toucher, et tout est bien fixé!
Les baguettes sous les phares... bon j'ai pas réussi à bourrer la colle assez profond, ça n'a rien pris.
Ce matin ça faisait l'effet "moustaches" qui dépassent.
Le comble c'est que je n'arrive pas à trouver ces fichus clips (que je n'ai jamais vu en vrai sur aucune 306, soit pétés, soit perdus ????)... ils ne sont plus dispo nulle part à prix humain (vu entre 1 et 2€ sur différents sites).
Si par hasard vous avez ces trucs là: Je suis fortement intéressé
En attendant les baguettes sont calées entre le pare choc et les phares par des bouts de tongs de mon gamin...
J'en ai profité pour lever l'essieu AR et tester la course du frein à main...
bon elle est trop longue c'est sûr, mais une roue bloque à 10 crans, l'autre à 11 crans...
Ca me semble ok, juste le réglage sous le levier à revoir.
C'est quand même étrange que ça se soit décalé autant quand le mec a serré à bloc.
Peut être que le système n'était pas bien en place auparavant?
Par contre j'ai un nouveau problème:
ayant mis la voiture sur chandelles pour tester le passage de roues et pouvoir tourner à fond dans les deux sens et être sûr que rien ne touche nulle part.
J'ai fait un petit test sur la roue AVG: poussé/tiré entre 9h et 3h
et y a un jeu perceptible!
Même plutôt franc, on peut voit le décalage en périphérie de la roue à l'oeil. Donc on parle de mm là... pas d'un fil de poil de cheveu.
Même test poussé/tiré entre 12h et 6h: rien.
Pris la bielette axiale à pleine main et tenté de sentir le jeu: rien.
Alors y a un ronronnement de ce côté depuis qu'on a la voiture, qu'on entend bien passé 80kmh, j'ai mis ça sur les roulements de boite probablement usés...
Mais je me demande si ça n'est pas simplement le roulement de porte moyeu.
Est-ce que je pourrais tester autrement pour en être sûr?
Parce que là, ok va falloir un CT sympa, mais avec un jeu comme ça faut pas abuser non plus...
@Raphaël: j'avais cette bombe depuis 2 ans sur une étagère, testée rapidos sur une des baguettes sous phares, et la teinte m'a paru dans les clous!
Là avec le pare choc, la calandre, et les deux baguettes peintes comme ça, hé bien ça fait le job parfaitement!
C'est un peu mat comparé à la peinture d'origine, et un poil plus clair. Mais là il faut prendre en compte le vieillissement des peintures, et surtout pour le côté mat l'abscence de vernis transparent (dont j'ai fait l'économie vu le bazar général).
Aujourd'hui j'ai pu remonter les passages de roue, avec évidemment de bonnes galères du côté où ça a tapé.
Obligé de rogner, percer, "rizlaner"... mais au final la roue passe sans souci, sans toucher, et tout est bien fixé!
Les baguettes sous les phares... bon j'ai pas réussi à bourrer la colle assez profond, ça n'a rien pris.
Ce matin ça faisait l'effet "moustaches" qui dépassent.
Le comble c'est que je n'arrive pas à trouver ces fichus clips (que je n'ai jamais vu en vrai sur aucune 306, soit pétés, soit perdus ????)... ils ne sont plus dispo nulle part à prix humain (vu entre 1 et 2€ sur différents sites).
Si par hasard vous avez ces trucs là: Je suis fortement intéressé
En attendant les baguettes sont calées entre le pare choc et les phares par des bouts de tongs de mon gamin...
J'en ai profité pour lever l'essieu AR et tester la course du frein à main...
bon elle est trop longue c'est sûr, mais une roue bloque à 10 crans, l'autre à 11 crans...
Ca me semble ok, juste le réglage sous le levier à revoir.
C'est quand même étrange que ça se soit décalé autant quand le mec a serré à bloc.
Peut être que le système n'était pas bien en place auparavant?
Par contre j'ai un nouveau problème:
ayant mis la voiture sur chandelles pour tester le passage de roues et pouvoir tourner à fond dans les deux sens et être sûr que rien ne touche nulle part.
J'ai fait un petit test sur la roue AVG: poussé/tiré entre 9h et 3h
et y a un jeu perceptible!
Même plutôt franc, on peut voit le décalage en périphérie de la roue à l'oeil. Donc on parle de mm là... pas d'un fil de poil de cheveu.
Même test poussé/tiré entre 12h et 6h: rien.
Pris la bielette axiale à pleine main et tenté de sentir le jeu: rien.
Alors y a un ronronnement de ce côté depuis qu'on a la voiture, qu'on entend bien passé 80kmh, j'ai mis ça sur les roulements de boite probablement usés...
Mais je me demande si ça n'est pas simplement le roulement de porte moyeu.
Est-ce que je pourrais tester autrement pour en être sûr?
Parce que là, ok va falloir un CT sympa, mais avec un jeu comme ça faut pas abuser non plus...
Renault Espace II RN J8S 1994 290000Km (le Sapin de noël), CG véhicule collection depuis le 09/2024
Peugeot 306 Berline "Symbio" 1.9D XUD9 1997 258000Km (Farce à la Rouille)
Peugeot 306 Berline "Symbio" 1.9D XUD9 1997 258000Km (Farce à la Rouille)
- LeJeune6troeniste
- Fou (folle) du volant

- Messages : 2822
- Enregistré le : 01 juil. 2019, 18:39
- : : :
- Modèle : [Espace IV 2.0 T 165 BVM]
- Finition : Privilège
- Année : 2004
- : : :
- : : :
Re: Peugeot 306 1.9D XUD9 1997
En réponse à la question, c'est possible ! Au bout de la gaine du cable il y a une pièce en acier qui rentre dans un trou dans la platine du tambour. Elle a une butée mais parfois on ne l'atteint pas toujours, c'est très raide. Je me souviens avoir galéré sur une 306 (je t'en avais parlé, c'est celle dont j'ai essayé le XUD atmo) avec ça, ça ne voulait pas rentrer. Pièce accessoire oblige... Donc potentiellement c'est rentré dans ton cas, ça peut se faire.Sigma a écrit : 29 sept. 2025, 20:28 J'en ai profité pour lever l'essieu AR et tester la course du frein à main...
bon elle est trop longue c'est sûr, mais une roue bloque à 10 crans, l'autre à 11 crans...
Ca me semble ok, juste le réglage sous le levier à revoir.
C'est quand même étrange que ça se soit décalé autant quand le mec a serré à bloc.
Peut être que le système n'était pas bien en place auparavant?
Bref, dans ton cas, ça freine encore la voiture, les cables ne sont pas cassés. Donc tu peux régler ça dans l'habitacle pour avoir une course plus à ton goût
Le CT te le dira mais ça te vaudra une contre-visite.Sigma a écrit : 29 sept. 2025, 20:28 et y a un jeu perceptible!
Même plutôt franc, on peut voit le décalage en périphérie de la roue à l'oeil.
[...]
Pris la bielette axiale à pleine main et tenté de sentir le jeu: rien.
Donc si tu veux voir avant :
Déjà je pense que ce n'est pas le roulement de la roue. Si tel était le cas tu aurais le même jeu dans l'axe vertical que tu as dans l'horizontal. J'ouvre une parenthèse : si ronronnement vérifier dans l'ordre les pneus (âge usure déformation), le roulement (ça fait un bruit en tournant la roue pendante aussi) et le niveau d'huile de boîte (me souviens plus si c'est jouable là dessus - si niveau par débordement oui). Potentiellement le roulement de la butée d'embrayage aussi, surtout que nous sommes chez PSA et que j'ai l'habitude de ça. S'entend moteur tournant pour peu que l'embrayage n'est pas enfoncé.Sigma a écrit : 29 sept. 2025, 20:28 Alors y a un ronronnement de ce côté depuis qu'on a la voiture, qu'on entend bien passé 80kmh, j'ai mis ça sur les roulements de boite probablement usés...
Mais je me demande si ça n'est pas simplement le roulement de porte moyeu.
Est-ce que je pourrais tester autrement pour en être sûr?
Mais pour du jeu de quelques mm, il faut vraiment que le roulement de roue soit usé. Tu es sur le point de perde le moyeu, disque, étrier et la roue
Vu ce que tu décris, moi je table sur la rotule, et pas l'axiale. Si c'est ça ce sera plutôt flagrant, surtout sans la roue pour gêner ta vision. Le plus souvent ça fait clac-clac aussi.
Bonne inspection
Espace IV 2.0T Privilège BVM de 04/2004
Bleu Orage, 262 652 km, dans la famille depuis 06/2014 et 87 898
CT OK jusqu'en 03/2027 !
Espace IV 2.0T Alyum Plus BVM de 01/2007 Noir Nacré, qui a servi de 07/19 à 11/21 sur 18 108 km, vendu
VW Golf III 1,8 Syncro de 10/1995
, 301 560 km
Jaguar XJ40 3,6 BVA Sovereign de 02/1989
, 92 607 km au total et ce depuis 2001
Soucis d'étincelle a priori trouvé, réfection du système d'alimentation en carburant en cours
Espace IV 2.0T Alyum Plus BVM de 01/2007 Noir Nacré, qui a servi de 07/19 à 11/21 sur 18 108 km, vendu
VW Golf III 1,8 Syncro de 10/1995
Jaguar XJ40 3,6 BVA Sovereign de 02/1989
- Sigma
- Fou (folle) du volant

- Messages : 1661
- Enregistré le : 11 août 2022, 19:21
- : : :
- Modèle : [Espace II 2.1 TD]
- Finition : Base
- Année : 1994
- : : :
- : : :
- Localisation : en dérapage
Re: Peugeot 306 1.9D XUD9 1997
Salut
merci pour tes conseils Raphaël!
Pour le frein à main, ok j'ai vu le genre de montage avec les arrêts de gaine dans les tambours quand j'ai changé le kit l'an dernier.
Mais je n'ai pas changé les cables, ils étaient montés depuis un moment déja... ça m'étonne un peu que les butées n'aient pas été en place depuis le temps.
Par contre derrière le levier de frein à main, en effet la plaque était très très loin en arrière.
Du bout des doigts ça branlait à fond avec le levier à zéro!
Donc quelques tours d'écrou et j'ai fortement réduit ce jeu pour que ça bloque franco les roues à 7 crans max.
Là au repos il reste un mini jeu derrière la plaque, donc les cables sont totalement libérés de leur tension, mais dès qu'on passe le premier cran ça commence à tirer. Donc ça me semble ok maintenant.
Le coup d'avoir le frein à main vertical, ça n'est pas vraiment une affaire de goût mais surtout d'avoir une course à peu près normale avec un peu de rab si besoin ( rab qui sera sûrement nécéssaire quand les garnitures vont s'user j'imagine), et d'ergonomie.
Puis aussi avec ce fichu CT ça m'évitera d'avoir trop de remarques, va y en avoir suffisamment sur d'autres points je pense.
Côté roue AVG... impossible de sentir le jeu / clac quand la roue est déposée.
Mais c'est vrai qu'il y a toujours eu un petit clac dans cette roue, léger, et pas facile de reproduire les conditions pour le répéter.
Ca le fait surtout au démarrage en 1è parfois, sinon en roulant: rien du tout. Pour ça j'avais plutôt pensé à la coupelle d'amorto...
J'ai eu beau chahuter le disque: que dalle.
Donc j'ai déposé la rotule pour la tripoter en direct. Et ça n'est pas super franc mais y a un effet un peu louche en tirant verticalement sur son axe
J'en ai deja eu dans les mains qui étaient vraiment HS et qui branlaient totalement, là ça n'est pas le cas.
Mais ok, j'en ai commandé une neuve...
Pour le remontage de la nouvelle rotule, je connais le truc de compter les tours lors de la dépose de la vieille.
Mais pour que ça soit valide il faudrait que les pièces soient exactement identiques, enfin dans mon idée...
Du coup je me demande si une mesure précise de l'écart entre le contre écrou et le porte fusée, dans l'axe de la bielette, et reproduire cet écart avec la nouvelle rotule tout simplement, serait une meilleure méthode pour ne pas avoir à retoucher le para ensuite
Mais je n'ai jamais vu personne prendre cette mesure avant de changer une rotule, à chaque fois c'était "comptage des tours".
merci pour tes conseils Raphaël!
Pour le frein à main, ok j'ai vu le genre de montage avec les arrêts de gaine dans les tambours quand j'ai changé le kit l'an dernier.
Mais je n'ai pas changé les cables, ils étaient montés depuis un moment déja... ça m'étonne un peu que les butées n'aient pas été en place depuis le temps.
Par contre derrière le levier de frein à main, en effet la plaque était très très loin en arrière.
Du bout des doigts ça branlait à fond avec le levier à zéro!
Donc quelques tours d'écrou et j'ai fortement réduit ce jeu pour que ça bloque franco les roues à 7 crans max.
Là au repos il reste un mini jeu derrière la plaque, donc les cables sont totalement libérés de leur tension, mais dès qu'on passe le premier cran ça commence à tirer. Donc ça me semble ok maintenant.
Le coup d'avoir le frein à main vertical, ça n'est pas vraiment une affaire de goût mais surtout d'avoir une course à peu près normale avec un peu de rab si besoin ( rab qui sera sûrement nécéssaire quand les garnitures vont s'user j'imagine), et d'ergonomie.
Puis aussi avec ce fichu CT ça m'évitera d'avoir trop de remarques, va y en avoir suffisamment sur d'autres points je pense.
Côté roue AVG... impossible de sentir le jeu / clac quand la roue est déposée.
Mais c'est vrai qu'il y a toujours eu un petit clac dans cette roue, léger, et pas facile de reproduire les conditions pour le répéter.
Ca le fait surtout au démarrage en 1è parfois, sinon en roulant: rien du tout. Pour ça j'avais plutôt pensé à la coupelle d'amorto...
J'ai eu beau chahuter le disque: que dalle.
Donc j'ai déposé la rotule pour la tripoter en direct. Et ça n'est pas super franc mais y a un effet un peu louche en tirant verticalement sur son axe
J'en ai deja eu dans les mains qui étaient vraiment HS et qui branlaient totalement, là ça n'est pas le cas.
Mais ok, j'en ai commandé une neuve...
Pour le remontage de la nouvelle rotule, je connais le truc de compter les tours lors de la dépose de la vieille.
Mais pour que ça soit valide il faudrait que les pièces soient exactement identiques, enfin dans mon idée...
Du coup je me demande si une mesure précise de l'écart entre le contre écrou et le porte fusée, dans l'axe de la bielette, et reproduire cet écart avec la nouvelle rotule tout simplement, serait une meilleure méthode pour ne pas avoir à retoucher le para ensuite
Mais je n'ai jamais vu personne prendre cette mesure avant de changer une rotule, à chaque fois c'était "comptage des tours".
Renault Espace II RN J8S 1994 290000Km (le Sapin de noël), CG véhicule collection depuis le 09/2024
Peugeot 306 Berline "Symbio" 1.9D XUD9 1997 258000Km (Farce à la Rouille)
Peugeot 306 Berline "Symbio" 1.9D XUD9 1997 258000Km (Farce à la Rouille)
- LeJeune6troeniste
- Fou (folle) du volant

- Messages : 2822
- Enregistré le : 01 juil. 2019, 18:39
- : : :
- Modèle : [Espace IV 2.0 T 165 BVM]
- Finition : Privilège
- Année : 2004
- : : :
- : : :
Re: Peugeot 306 1.9D XUD9 1997
Excellent pour le frein à main, c'est parfait comme ça 
Les coupelles, ça donne un bruit sur les aspérités de la route mais va le sentir à l'arrêt. Parfois si c'est très usé, tu entendras et sentiras quelque chose qui ne va pas en braquant la direction roues pendantes (les cas de ma Golf).
Peut-être le triangle ? Si tu peux te faire aider, regarde si la roue se balade d'avant en arrière dans le passage de roue, quand tu es en première et qu'on fait mordre l'embrayage franco. Mais la méthode traditionnelle : dépose de la roue et gros tournevis/pied de biche au niveau des trois articulations (deux SB une rotule d'habitude). Mais ça colle mois avec le symptôme décrit.
Les coupelles, ça donne un bruit sur les aspérités de la route mais va le sentir à l'arrêt. Parfois si c'est très usé, tu entendras et sentiras quelque chose qui ne va pas en braquant la direction roues pendantes (les cas de ma Golf).
Peut-être le triangle ? Si tu peux te faire aider, regarde si la roue se balade d'avant en arrière dans le passage de roue, quand tu es en première et qu'on fait mordre l'embrayage franco. Mais la méthode traditionnelle : dépose de la roue et gros tournevis/pied de biche au niveau des trois articulations (deux SB une rotule d'habitude). Mais ça colle mois avec le symptôme décrit.
Espace IV 2.0T Privilège BVM de 04/2004
Bleu Orage, 262 652 km, dans la famille depuis 06/2014 et 87 898
CT OK jusqu'en 03/2027 !
Espace IV 2.0T Alyum Plus BVM de 01/2007 Noir Nacré, qui a servi de 07/19 à 11/21 sur 18 108 km, vendu
VW Golf III 1,8 Syncro de 10/1995
, 301 560 km
Jaguar XJ40 3,6 BVA Sovereign de 02/1989
, 92 607 km au total et ce depuis 2001
Soucis d'étincelle a priori trouvé, réfection du système d'alimentation en carburant en cours
Espace IV 2.0T Alyum Plus BVM de 01/2007 Noir Nacré, qui a servi de 07/19 à 11/21 sur 18 108 km, vendu
VW Golf III 1,8 Syncro de 10/1995
Jaguar XJ40 3,6 BVA Sovereign de 02/1989
- Sigma
- Fou (folle) du volant

- Messages : 1661
- Enregistré le : 11 août 2022, 19:21
- : : :
- Modèle : [Espace II 2.1 TD]
- Finition : Base
- Année : 1994
- : : :
- : : :
- Localisation : en dérapage
Re: Peugeot 306 1.9D XUD9 1997
Le triangle, j'y avais pensé mais en effet: pour "voir" un jeu il faut y aller fort.
Puis comme tu le dis ça ne colle pas avec un petit jeu comme celui que je sens.
Les SBs ont une bonne tête vu comme ça... pas craquelés, pas explosés... pas d'effet "skateboard" en roulant non plus.
Donc bon... la rotule est en route, on verra bien.
En tout cas c'est commencer par la pièce la moins chère et la plus simple à remplacer.
Puis comme tu le dis ça ne colle pas avec un petit jeu comme celui que je sens.
Les SBs ont une bonne tête vu comme ça... pas craquelés, pas explosés... pas d'effet "skateboard" en roulant non plus.
Donc bon... la rotule est en route, on verra bien.
En tout cas c'est commencer par la pièce la moins chère et la plus simple à remplacer.
Renault Espace II RN J8S 1994 290000Km (le Sapin de noël), CG véhicule collection depuis le 09/2024
Peugeot 306 Berline "Symbio" 1.9D XUD9 1997 258000Km (Farce à la Rouille)
Peugeot 306 Berline "Symbio" 1.9D XUD9 1997 258000Km (Farce à la Rouille)
-
grostoto
- Fou (folle) du volant

- Messages : 8881
- Enregistré le : 09 mars 2011, 14:48
- : : :
- Modèle : [Espace III 2.0 16V BVM]
- Finition : RXT
- Année : 2000
- : : :
- : : :
- Localisation : centre
Re: Peugeot 306 1.9D XUD9 1997
personnellement, je cale l'auto de manière non bougeable (exit le cric hydraulique, mais plutot une chandelle)
je bloque le volant au neiman;
avec une régle assez longue, en appui sur le plan du disque, pour aller au sol, je marque l'endroit ou arrive cette régle au sol, sur l'arrière ou l'avant (pas à l'aplomb).
c'est suffisant pour régler la rotule très précisément comme elle était (évidement il ne faut pas avoir bouger le volant ou la bagnole entre temps).
plus le point de marquage est loin de l'aplomb, plus c'est précis.
je bloque le volant au neiman;
avec une régle assez longue, en appui sur le plan du disque, pour aller au sol, je marque l'endroit ou arrive cette régle au sol, sur l'arrière ou l'avant (pas à l'aplomb).
c'est suffisant pour régler la rotule très précisément comme elle était (évidement il ne faut pas avoir bouger le volant ou la bagnole entre temps).
plus le point de marquage est loin de l'aplomb, plus c'est précis.
- Sigma
- Fou (folle) du volant

- Messages : 1661
- Enregistré le : 11 août 2022, 19:21
- : : :
- Modèle : [Espace II 2.1 TD]
- Finition : Base
- Année : 1994
- : : :
- : : :
- Localisation : en dérapage
Re: Peugeot 306 1.9D XUD9 1997
Merci pour cette astuce
Carrément simple à mettre en oeuvre en plus!
Carrément simple à mettre en oeuvre en plus!
Renault Espace II RN J8S 1994 290000Km (le Sapin de noël), CG véhicule collection depuis le 09/2024
Peugeot 306 Berline "Symbio" 1.9D XUD9 1997 258000Km (Farce à la Rouille)
Peugeot 306 Berline "Symbio" 1.9D XUD9 1997 258000Km (Farce à la Rouille)
